Подогреватель топливопровода проточный ПП

Подогреватель топливопровода проточный ПП фото 1 ТЭН24
Подогреватель топливопровода проточный ПП фото 1 ТЭН24
Подогреватель топливопровода проточный ПП фото 2 ТЭН24
Подогреватель топливопровода проточный ПП фото 2 ТЭН24
Подогреватель топливопровода проточный ПП фото 3 ТЭН24
Подогреватель топливопровода проточный ПП фото 3 ТЭН24
Подогреватель топливопровода проточный ПП фото 4 ТЭН24
Подогреватель топливопровода проточный ПП фото 4 ТЭН24
Подогреватель топливопровода проточный ПП фото 1 ТЭН24
Подогреватель топливопровода проточный ПП фото 2 ТЭН24
Подогреватель топливопровода проточный ПП фото 3 ТЭН24
Подогреватель топливопровода проточный ПП фото 4 ТЭН24

Подогреватель топливной магистрали проточный устанавливается перед фильтром тонкой очистки для подачи на него уже подогретого дизельного топлива.

Температура среды для работы: от -40 до +45 °С

Данный тип подогревателей относится к типу нагревательных элементов маршевого нагрева дизтоплива (проточные нагреватели). Проточные нагреватели ПП работают при включенном двигателе авто или прямо во время езды.

Установка производится в место прямо перед фильтром, поэтому в него поступает дизтопливо, уже разогретое подогревателем. Таким образом исключается парафинизация топлива и облегчается его фильтрация.

В интернет-магазине ТЭН 24 вы можете купить проточные подогреватели дизтоплива в двух вариантах – ПП-101 (ручное управление) и ПП-201 (автоматическое управление). Также вместе с нагревателем ПП мы рекомендуем установить бандажный нагреватель топливного фильтра.

Установка проточного подогревателя

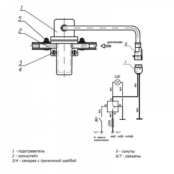
Проточный нагреватель устанавливается в вертикальном положении так, чтобы выходные и входные штуцеры помещались в горизонтальном положении. Для наглядности направление течения топлива указывается на штуцерах при помощи стрелок. Для крепления на кронштейне применяются два винта, а концы закрепляются хомутами на штуцерах.

Схемы подключения к сети прилагаются в техпаспорте изделия для обоих вариантов подключения: ручного и автоматического. Автоматический режим является более удобным, при нем включение нагревательного элемента происходит при снижении температуры дизтоплива до предельной температуры (+5 градусов). Ну а в ручном типе управления придется включать нагреватель в салоне самостоятельно кнопкой в салоне.


Доставка по Украине

Подогреватель топливопровода проточный ПП может быть доставлен со склада в Одессе и Киеве в любой город и населенный пункт Украины: Львов, Херсон, Чернигов, Харьков, Сумы, Винница, Ровно, и другие. Доставка осуществляется при помощи компаний перевозчиков. При большом заказе нагревателей доставка осуществляется бесплатно!

Характеристики

Характеристики

Модель

ПП-101

ПП-102

ПП-201

ПП-202

Напряжение питания постоянного тока, В

12

24

12

24

Номинальное входное электрическое сопротивление, Ом

0,55-0,70

1,5-2,0

0,55-0,70

1,5-2,0

Номинальная электрическая мощность, Вт, не менее, при температуре дизтоплива 
-20 °С
+5 °С



220
180



350
300



220
180



350
300

Максимальный расход дизельного топлива через подогреватель, л/ч

150

420

150

420

Максимальная температура нагревательного элемента, °С, не более

130

Диапазон рабочих температур при эксплуатации, климатическое исполнение

от -40 до +45 °С, ХЛ2

Диаметр штуцеров для забора и отвода дизтоплива (внутренний/наружный), мм

6,5/9

9/12

6,5/9

9/12

Размеры (габаритные - длина х ширина х высота), мм

100 х 52 х 110

114 х 52 х 110

100 х 52 х 110

114 х 52 х 110

Масса в снаряженном состоянии, кг, не более
- без заполнения топливом
- с заполнением топливом



0,250
0,280



0,270
0,310



0,250
0,280



0,270
0,310

Управление подогревом

Ручное

Автоматическое автономное

Режим работы

Кратковременный 5-10 мин от аккумулятора, длительный от генератора

Чертеж

Задать вопрос

Если у Вас есть вопросы, Вы можете задать их в форме или просто написать нам письмо на электронную почту.
TEN24 logo